Workflow
三花智控(002050)
icon
搜索文档
洞察2025|A股硬科技领跑IPO,港股重回全球募资之巅
搜狐财经· 2025-12-30 10:21
2025年A股与港股IPO市场回顾与展望 A股IPO市场表现 - 2025年A股市场共有116只新股上市,较2024年增长16%,合计募资1317.71亿元,同比大涨95.64% [3] - 市场呈现“量额齐升、硬科技主导”特征,沪市主板以432.28亿元融资规模领先,创业板以33只新股数量居首 [3] - 年内出现百亿级超大型IPO,华电新能以181.71亿元首发募资额居首,成为全球年内第六大IPO项目 [4] - 硬科技企业IPO审核速度显著提升,沐曦股份与摩尔线程成为全面注册制以来单签盈利规模第一、第二大新股,中一签浮盈分别约为36.26万元和24.31万元 [5] - 资本市场“含科量”不断提升,长鑫存储、宇树科技等知名科技企业完成上市辅导,人工智能、高端芯片等行业企业集中递表 [5] - 科创板“1+6”改革持续推进,商业火箭企业上市适用指引出炉,多家商业航天企业已启动上市辅导 [5] 港股IPO市场表现 - 2025年港股市场共有117只新股上市,新股数量同比增长超六成,募资总额飙升至2856.93亿港元,同比暴涨超220%,强势登顶全球募资榜首 [7] - 港交所年度新股募资额时隔四年再度突破2000亿港元,重回近五年第二高峰 [7] - 市场繁荣得益于8只百亿级超大型IPO,包括宁德时代、紫金黄金国际等,合计募资约1424.69亿港元,占全年募资总额近五成 [7] - 在2025年全球十大新股榜单中,港交所占据四席,其中宁德时代以410.06亿港元募资额位列全球第二 [7] - 年内共有19只A+H新股上市,合计募资约1399.93亿港元,占港股年内募资总额比例约49%,成为推动筹资规模增长的重要力量 [8] - 新股上市首日破发率为27.35%,创下港交所近五年新低,打新收益确定性显著增强 [8] 市场繁荣的驱动因素 - A股市场受益于“科技牛”行情下二级市场对科技企业估值体系的重构,以及政策持续加持带来的制度包容性吸引力 [9] - 政策层面,多部门联合发布文件发挥资本市场支持科技创新的关键枢纽作用,科创板推出设置成长层及6项政策举措以增强制度包容性 [9] - 港股市场受益于监管合作与政策优化,香港证监会与港交所联合声明开辟A股公司快速通道,中国证监会发布多项惠港政策支持行业龙头赴港上市 [10] - 香港推进上市政策优化,包括审视多重上市机制、推进“科企专线”等,以增强市场活力与竞争力 [10] - 资本层面,国际长线资金回流布局细分行业龙头,同时更多内地企业加速赴港上市以推动海外扩张,巩固了港股国际金融中心地位 [11] 2026年市场展望 - 机构预计2026年A股IPO将延续常态化,更可能实现有质量的稳健增长,动力源于融资结构的深刻变化及资本向战略性新兴产业集中 [13] - 德勤预计2026年港股将有约160只新股融资不少于3000亿港元,其中预计有7只百亿级IPO,包括内地龙头企业 [13] - 除了大量A+H股申请人,科技、传媒及电信、医疗及医药、消费、国际公司及在美中概股将成为市场关注焦点 [13] - 市场对2026年A、H股新股市场稳中向好充满期待,普遍认为新股数量与融资规模大概率实现稳步攀升 [1] 市场面临的挑战 - 港股新股首日破发率近期有所回升,2025年11月破发率达45.45%,12月为38.46% [14] - 12月22日,明基医院等四只新股上市首日集体破发,其中明基医院收跌49.46%,创下年内港股新股上市首日最差表现 [14] - 行业人士指出港股存在上市申请质量、券商执业质量下滑等问题,因IPO爆发式增长导致项目量远超往常,部分机构承接超自身能力的业务 [14] - 截至目前,港交所共有约300家企业处于IPO排队状态,同时预计2026年禁售期满后可能迎来一波解禁潮 [14]
11只个股成交超百亿:航天发展42%换手率成交216亿元,商业航天、CPO、新能源交易火热
金融界· 2025-12-30 10:11
A股市场整体成交情况 - 12月30日,A股市场整体成交额再度超过2万亿元 [1] 高成交额个股及市场热点 - 当日有11只A股成交额超过100亿元,包括航天发展、中国卫星、中际旭创、金风科技、三花智控、航天电子、寒武纪-U、中国卫通、新易盛、信维通信、阳光电源 [1] - 航天发展成交额最高,达216.2亿元,换手率42.53%,但股价下跌3.13%,涉及商业航天、军工信息化、卫星通信等热门题材 [2] - 中国卫星成交额198.7亿元,换手率18.69%,股价下跌1.91%,涉及商业航天、卫星制造题材 [2] - 中际旭创成交额164.6亿元,换手率2.36%,股价上涨2.27%,涉及CPO概念、光模块、AI算力、800G/1.6T题材 [2] - 金风科技成交额144.4亿元,换手率20.37%,股价下跌6.74%,涉及风电设备、新能源、储能、氢能源题材 [2] - 三花智控成交额141.3亿元,换手率7.63%,股价涨停上涨9.99%,涉及新能源汽车热管理、人形机器人、特斯拉链题材 [2] - 航天电子成交额132.7亿元,换手率20.42%,股价微涨0.52%,涉及航天电子信息、无人系统、卫星导航题材 [2] - 寒武纪-U成交额128.7亿元,换手率2.18%,股价上涨4.22%,涉及AI芯片、国产算力、人工智能题材 [2] - 中国卫通成交额119.7亿元,换手率8.88%,股价上涨8.27%,涉及卫星互联网、6G概念、商业航天、卫星通信题材 [2] - 新易盛成交额115.5亿元,换手率2.92%,股价微涨0.34%,涉及CPO概念、光模块、AI算力、800G题材 [2] - 信维通信成交额100.5亿元,换手率22.67%,股价上涨3.21%,涉及消费电子、无线充电、AI眼镜、卫星通信题材 [2] - 阳光电源成交额100.3亿元,换手率3.55%,股价上涨1.91%,涉及光伏逆变器、储能系统、新能源题材 [2] 市场热点题材分布 - 商业航天及卫星产业链是重要热点,涉及公司包括航天发展、中国卫星、航天电子、中国卫通、信维通信 [2] - AI算力及光通信产业链是另一核心热点,涉及公司包括中际旭创、寒武纪-U、新易盛 [2] - 新能源产业链持续受关注,涉及公司包括金风科技、阳光电源 [2] - 高端制造及新兴技术概念活跃,涉及公司包括三花智控(新能源汽车热管理、人形机器人)、信维通信(AI眼镜) [2]
「数据看盘」超10亿元资金买入三花智控 机构抢筹商业航天概念股
搜狐财经· 2025-12-30 10:09
沪深股通成交概况 - 沪股通总成交金额为1074.87亿元,深股通总成交金额为1305.31亿元 [2] - 沪股通前十大成交个股中,寒武纪以20.12亿元位居首位,紫金矿业和工业富联分别以18.99亿元和15.85亿元分居二、三位 [3] - 深股通前十大成交个股中,中际旭创以25.65亿元位居首位,新易盛和阳光电源分别以22.18亿元和18.05亿元分居二、三位 [3] 板块资金流向 - 机器人、影视院线等板块涨幅居前,海南、零售等板块跌幅居前 [4] - 主力资金净流入前五的板块为:交运设备(38.03亿元,净流入率3.18%)、机械设备(29.99亿元,净流入率1.37%)、文化传媒(19.49亿元,净流入率3.78%)、家用电器(18.36亿元,净流入率5.15%)、通用设备(15.21亿元,净流入率1.39%) [5] - 主力资金净流出前五的板块为:电新行业(-107.17亿元,净流出率-5.19%)、国防军工(-65.50亿元,净流出率-3.62%)、电力设备(-59.76亿元,净流出率-8.79%)、电子(-48.40亿元,净流出率-1.42%)、有色金属(-41.33亿元,净流出率-2.99%) [6] 个股资金流向 - 主力资金净流入前十的个股中,三花智控以27.77亿元(净流入率19.65%)居首,其他包括Ne--(18.92亿元,净流入率43.55%)、山子高科(15.33亿元,净流入率34.33%)等 [7] - 主力资金净流出前十的个股中,金风科技以-29.14亿元(净流出率-20.18%)居首,航天发展(-22.45亿元,净流出率-10.39%)、中国平安(-12.47亿元,净流出率-17.26%)等紧随其后 [8] ETF成交动态 - 今日成交额前十的ETF中,A500ETF华泰柏瑞以149.507亿元居首,环比增长8.35% [9] - 成交额环比增长前十的ETF中,有色金属ETF基金环比增长456.04%至22.9292亿元,机器人ETF鹏华环比增长124.56%至2.4138亿元,机器人ETF环比增长77.93%至27.6063亿元 [10] 龙虎榜机构动向 - 商业航天概念股获机构买入:泰尔股份(4连板)获三家机构买入1.52亿元,航天发展获三家机构买入3.75亿元(同时两家机构卖出2.4亿元),隆基机械获四家机构买入7712万元,广联航空获三家机构买入1.23亿元(同时一家机构卖出5136万元) [12] - 机器人概念人气股三花智控涨停,但遭一家机构卖出1.11亿元 [12] 龙虎榜游资与量化资金动向 - 机器人概念持续爆发,三花智控获两家实力游资(国泰海通证券宁波广福街、国泰海通证券宜昌沿江大道)分别买入3.18亿元和2.01亿元 [14] - 山子高科获两家实力游资(国泰海通证券宜昌沿江大道、国泰海通证券上海中山东路)分别买入2亿元和1.52亿元 [14] - 量化资金活跃度提升:三花智控获一家量化资金(开源证券西安西大街)买入2.42亿元,同时深股通买入3.19亿元 [15] - 福龙马(3天2板)遭量化资金博弈,一家量化资金(中信证券浙江分公司)买入1.14亿元,三家量化资金合计卖出3.35亿元 [15]
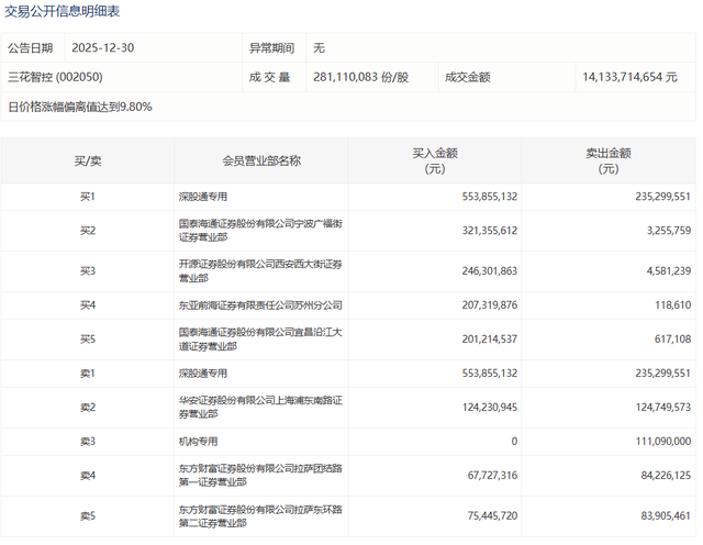
三花智控12月30日龙虎榜数据
证券时报网· 2025-12-30 09:43
当日股价与交易表现 - 公司股票今日涨停,全天换手率达7.63%,成交额为141.34亿元,振幅为11.99% [1] - 因日涨幅偏离值达到9.80%而登上龙虎榜 [1] 龙虎榜资金流向分析 - 龙虎榜前五大买卖营业部合计成交24.45亿元,其中买入成交额为17.97亿元,卖出成交额为6.48亿元,合计净买入11.50亿元 [1] - 机构专用席位现身卖三,合计净卖出1.11亿元 [1] - 深股通专用席位为第一大买入及卖出营业部,买入金额为5.54亿元,卖出金额为2.35亿元,合计净买入3.19亿元 [1] - 营业部席位合计净买入9.42亿元 [1] 近期资金动态 - 今日主力资金净流入32.43亿元,其中特大单净流入35.95亿元,大单资金净流出3.52亿元 [2] - 近5日主力资金净流入27.06亿元 [2] 融资融券情况 - 最新两融余额为71.58亿元,其中融资余额为71.36亿元,融券余额为2177.17万元 [2] - 近5日融资余额合计增加3.11亿元,增幅为4.56% [2] - 近5日融券余额合计增加429.67万元,增幅为24.59% [2] 历史龙虎榜表现 - 近半年公司股票累计上榜龙虎榜5次,上榜次日股价平均下跌0.95%,上榜后5日平均上涨6.49% [2]
三花智控(02050)12月30日斥资1888.98万元回购37.5万股A股
智通财经网· 2025-12-30 09:27
智通财经APP讯,三花智控(02050)发布公告,于2025年12月30日,该公司斥资1888.98万元回购37.5万股 A股。 ...
三花智控(02050.HK)12月30日耗资1888.98万元回购37.5万股A股
格隆汇· 2025-12-30 09:25
公司股份回购 - 公司于2025年12月30日进行了A股股份回购 [1] - 本次回购耗资人民币1888.98万元 [1] - 本次回购股份数量为37.5万股 [1] - 回购价格区间为每股47.7元至51元 [1]
家电行业2026年度投资策略:重视红利、拥抱出海、把握家电+转型机遇
华西证券· 2025-12-30 09:17
核心观点 - 报告提出2026年家电行业三大投资主线:重视红利、拥抱出海、把握“家电+”转型机遇 [5][6] 01 2025年家电复盘 - **市场表现平淡**:截至2025年12月23日,家电行业指数年初至今涨幅为7.7%,跑输沪深300指数约9.7个百分点,在申万31个一级行业中排名第22位 [11][14] - **风格错配与基本面影响**:2025年市场风格偏成长,与偏价值的家电行业存在错配;基本面方面,前三季度国补政策拉动效果较好,但第四季度进入高基数时期增速回落,同时美国关税政策变动对出口占比较高的行业造成扰动 [13] - **细分板块分化**:在偏成长风格市场中,具备“家电+”属性的零部件板块涨幅最大,年初至今家电零部件板块上涨65.0%,而白电板块下跌0.7% [14] - **机构持仓处于低位**:2025年第三季度,家用电器板块公募基金持仓比例为2.94%,相比2024年第三季度4.75%的高点明显回落,处于历史较低位置 [18][20] 02 红利 - **白电龙头股息率突出**:按照2025年12月24日收盘价计算,格力电器、美的集团、海信家电、海尔智家的股息率分别高达7.3%、5.1%、4.9%、4.6% [6][24] - **业绩增长具备韧性**:美的集团、海信家电和海尔智家在2014-2024年间的归母净利润复合年均增长率均超过10% [6][24] - **分红率有提升空间**:美的集团、海尔智家等公司可能存在分红率继续提升的空间 [6][24] - **横向对比价值凸显**:在A股市值1000亿以上、股息率超过3%的公司中,消费行业主要为白酒和白电龙头,白电龙头过去10年利润增速保持在9-14%之间,兼具成长性与高分红,是“攻守兼备”的品种 [29][30] 03 内销 - **政策拉动前高后低**:2024年8月开始的国补政策带动家电社零增长,但进入2025年下半年,因高基数及部分地区政策调整,8月至11月社零同比增速分别为+14.3%、+3.3%、-14.6%、-19.4%,呈逐月降速状态 [34] - **政策有望延续**:2025年12月中央经济工作会议明确将优化“两新”政策实施作为2026年重点工作,多地已启动2026年以旧换新经营主体申报,有望继续拉动内销结构升级 [34] - **空调市场量增价稳**:2025年1-11月,空调线上渠道零售额累计同比增长11%,线下微增;终端均价基本保持稳定,中高端升级趋势有望延续 [39][40][41] - **原材料成本压力可控**:截至2025年12月24日,LME铜价累计上涨近38%,给空调行业带来成本压力;但美的、格力等头部企业通过规模优势、供应链管理及期货套保等手段可部分消化压力;行业推动“铝代铜”或带来进一步降本空间 [43][45] - **清洁电器渗透率提升空间大**:2025年1-11月扫地机内销线上销售额146.64亿元,同比增长8.67%;2024年中国内地每百户智能扫地机器人家庭渗透率仅3.4台,远低于美国、日本、韩国(约8.1台)和德国(4.7台),内销渗透潜力较大 [48][49][50] - **全球清洁电器格局变化**:2020-2024年全球智能扫地机器人市场规模复合年增长率为20.6%,预计2024-2029年复合年增长率为22.0%;2025年前三季度全球市场出货量同比增长18.7%,石头科技、科沃斯、追觅、小米、云鲸包揽出货量前五,iRobot跌出前五并申请破产,或重塑北美竞争格局 [53][54][55] 04 “家电+” - **整机制造延伸至机器人**:美的集团与库卡联合研发的类人形机器人或已进入工厂应用,并计划未来投入消费场景;公司计划未来三年至少投入500亿元布局AI、机器人等前沿领域,已实现90%核心部件自研 [58] - **特种机器人新增长点**:富佳股份作为平粮机器人本体及智控箱的唯一制造厂家,预计单仓解决方案价值约10至20万元,该产品有望在2026年开始放量,年订单量预计达数万台,年产能规划10万台 [59] - **零部件公司卡位核心环节**:机器人硬件制造成本占比超过60%,家电零部件公司依托制造基础切入核心零部件领域,包括:华翔股份(减速器核心结构件)、汉宇集团(谐波减速器)、德昌股份(无框力矩电机)、三花智控(机电执行器) [6][64][65] 05 出口 - **美国降息与地产政策可期**:多数美联储官员预计2026、2027年将持续降息,2026年联邦基金利率中值预测为3.4%;美国总统表示将在2026年初公布“激进的”住房改革计划 [71] - **高利率压制需求待释放**:2025年11月美国成屋销量(折年数)为413万套,低于2010年至今的均值500万套;美国约80%的住房贷款利率低于6%,若2026年30年抵押贷款固定利率(2025年12月18日为6.2%)降至6%以下,被压制的需求有望在2026-2027年集中释放 [6][71][84][87] - **渠道库存有待消化**:美国建筑材料、园林设备和物料店的零售库销比自2025年5月以来维持在2.1左右,处于相对高位;2025年10月该渠道销售额同比下滑5%,已连续6个月同比下滑 [76][78][80] - **零售商对2026年态度积极**:家得宝对2026财年可比销售额的中性预期为同比持平至增长2%,乐观预期为增长4%至5%;劳氏认为利率下调将对市场需求形成刺激 [83] - **出货节奏与基数影响**:因2025年第一季度存在“抢出口”,预计2026年第一季度基数较高,但进入第二季度后基数逐渐走低;若美联储持续降息叠加住房刺激政策,2026年第二季度之后对美出口公司的出货端有望迎来反转 [6][89] - **新兴市场占比高、空间大**:空调、冰箱、洗衣机的外销销量占比分别约为47%、59%、54%;在2025冷年空调外销中,亚洲、拉丁美洲、非洲合计占出口销量的70%;冰箱、洗衣机2025年前三季度外销中,亚洲、南美、非洲合计销量占比分别为54%、57%,且增速高于欧美市场 [6][96][97] - **新兴市场普及率低**:东南亚白电普及率仍处于中国2010年前的水平,空调普及率仅相当于中国2003年水平;巴西空调保有量仅约50%,而中国城镇家庭空调普及率已达91% [96][98] 06 投资建议 - **红利主线**:推荐美的集团、海信家电、海尔智家,受益标的包括老板电器 [6][100] - **“家电+”主线**:推荐华翔股份、德昌股份、三花智控,受益标的包括富佳股份、汉宇集团 [6][100] - **出口主线**:推荐巨星科技、创科实业、泉峰控股,受益标的包括银都股份、欧圣电气、TCL智家、绿田机械 [6][100]
三花智控今日涨停,深股通专用席位买入5.54亿元并卖出2.35亿元
第一财经· 2025-12-30 09:03
市场表现与交易数据 - 三花智控于2025年12月30日股价涨停,日价格涨幅偏离值达到9.80% [1] - 当日成交额高达141.34亿元,换手率为7.63% [1] - 当日成交量为281,110,083股,成交金额为14,133,714,654元 [1] 龙虎榜买卖席位分析 - 深股通专用席位表现活跃,买入5.54亿元,同时卖出2.35亿元,净买入金额显著 [1] - 有一家机构专用席位净卖出1.11亿元 [1] - 买入前五席位中,除深股通外,甬兴证券宁波广福街营业部买入3.21亿元,开源证券西安西大街营业部买入2.46亿元,东亚前海证券苏州分公司买入2.07亿元,国泰君安宜昌沿江大道营业部买入2.01亿元 [1] - 卖出前五席位中,除深股通和机构专用外,北京高华北京金融大街营业部卖出1.25亿元,东方财富证券拉萨团结路第一营业部卖出0.84亿元,东方财富证券拉萨东环路第二营业部卖出0.84亿元 [1]
家电零部件板块12月30日涨5.35%,同星科技领涨,主力资金净流入24.34亿元
证星行业日报· 2025-12-30 09:00
家电零部件板块市场表现 - 12月30日,家电零部件板块整体较上一交易日上涨5.35%,表现显著强于大盘,当日上证指数下跌0.0%,深证成指上涨0.49% [1] - 板块内领涨个股为同星科技,其股价上涨10.34%,收于33.29元,成交量为18.30万手,成交额为6.15亿元 [1] - 三花智控股价上涨9.99%,收于52.50元,成交量为281.11万手,成交额高达141.34亿元,是板块内成交最活跃的个股 [1] 板块个股涨跌情况 - 板块内多数个股上涨,除领涨股外,汉宇集团上涨3.91%,珠城科技上涨3.02%,朗科智能上涨2.69%,和晶科技上涨2.65%,宏昌科技上涨2.28% [1] - 部分个股出现下跌,其中金莱特下跌5.51%,天银机电下跌2.64%,南特科技下跌1.56%,海立股份下跌1.39% [2] 板块资金流向 - 当日家电零部件板块整体呈现主力资金大幅净流入,净流入金额为24.34亿元,而游资和散户资金则分别净流出15.03亿元和9.32亿元 [2] - 三花智控获得主力资金大幅净流入27.86亿元,主力净流入占比达19.71%,但同时遭遇游资净流出16.14亿元,散户净流出11.71亿元 [3] - 宏昌科技主力净流入2752.51万元,主力净占比14.21%,散户净流出2739.40万元 [3] - 汉宇集团主力净流入2300.98万元,游资净流入2116.09万元,但散户净流出4417.07万元 [3]
60.94亿主力资金净流入,人形机器人概念涨1.94%
证券时报网· 2025-12-30 08:52
人形机器人概念板块市场表现 - 截至12月30日收盘,人形机器人概念板块整体上涨1.94%,在概念板块涨幅中排名第2 [1] - 板块内共有173只股票上涨,其中步科股份、海昌新材等20%涨停,万向钱潮、新时达、三花智控等涨停 [1] - 昊志机电、丰光精密、恒工精密涨幅居前,分别上涨18.59%、17.58%、13.11% [1] - 跌幅居前的股票有超捷股份、星云股份、安达智能等,分别下跌7.97%、6.01%、4.16% [1] 相关概念板块涨跌幅对比 - 当日涨幅居前的概念板块包括减速器(2.86%)、PEEK材料(1.82%)、同花顺果指数(1.64%)、汽车热管理(1.43%)、特斯拉概念(1.40%)等 [2] - 当日跌幅居前的概念板块包括海南自贸区(-4.06%)、免税店(-2.74%)、自由贸易港(-2.04%)、BC电池(-1.84%)、钙钛矿电池(-1.63%)等 [2] 板块资金流向 - 人形机器人概念板块当日获得主力资金净流入60.94亿元 [2] - 板块内124只股票获得主力资金净流入,其中23只股票主力资金净流入超过1亿元 [2] - 三花智控是主力资金净流入最多的股票,净流入32.43亿元 [2] - 万向钱潮、领益智造、立讯精密主力资金净流入分别达5.66亿元、3.76亿元、3.32亿元 [2] 个股资金流入情况 - 新时达、三花智控、万向钱潮的主力资金净流入比率居前,分别为31.25%、22.95%、16.42% [3] - 海昌新材主力资金净流入1.58亿元,净流入比率为12.61% [4] - 震裕科技主力资金净流入2.03亿元,净流入比率为12.35% [4] - 广电运通主力资金净流入1.43亿元,净流入比率为10.94% [4] - 富临精工主力资金净流入1.59亿元,净流入比率为10.52% [4] 个股资金流出情况 - 超捷股份主力资金净流出1.06亿元,净流出比率为3.18% [14] - 星云股份主力资金净流出1.06亿元,净流出比率为19.54% [15] - 润和软件主力资金净流出1.73亿元,净流出比率为12.27% [15] - 光启技术主力资金净流出2.17亿元,净流出比率为17.36% [15] - 亿纬锂能主力资金净流出9.63亿元,净流出比率为12.38% [15]