Workflow
新能源机制电价
icon
搜索文档
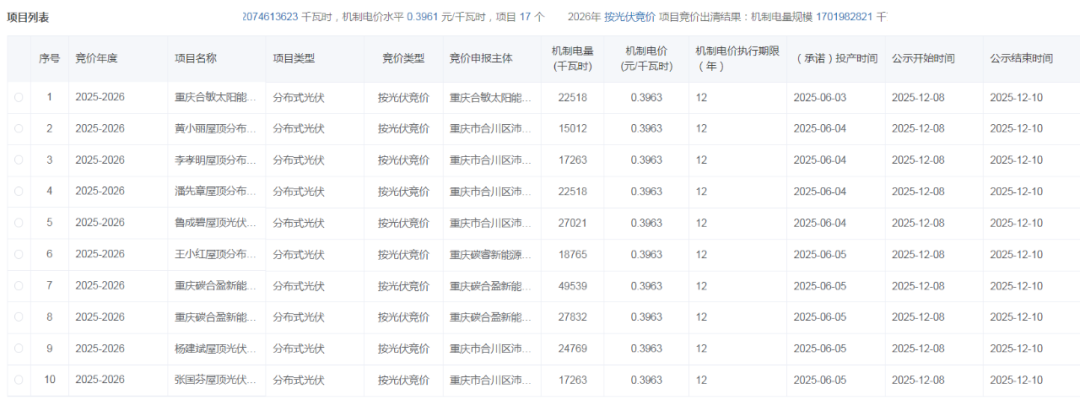
重庆机制电价出炉:光伏0.3963元/千瓦时,3865个项目入围!
新浪财经· 2025-12-08 12:25
重庆首轮增量新能源电价竞价结果 - 2025年12月8日,重庆市公示了首轮增量新能源项目机制电价竞价结果 [1][7] - 2026年光伏竞价项目出清结果:机制电量规模为17.02亿千瓦时,机制电价水平为0.3963元/千瓦时,涉及项目3865个 [2][8] - 2026年风电竞价项目出清结果:机制电量规模为20.75亿千瓦时,机制电价水平为0.3961元/千瓦时,涉及项目17个 [3][8] 竞价政策关键参数 - 机制电量总规模为48.6亿千瓦时,其中风电22.6亿千瓦时,光伏发电26亿千瓦时 [3][8] - 风电与光伏发电项目的竞价申报充足率均设定为120% [4][9] - 单个项目的机制电量申报比例上限为90% [4][10] - 风电与光伏发电项目的竞价上限均为0.3964元/千瓦时,竞价下限均为0.2元/千瓦时 [5][11] - 风电与光伏发电项目的机制电价执行期均为12年 [6][11] 部分中标项目详情 - 公示列出了部分中标项目示例,项目类型均为分布式光伏,竞价类型为按光伏竞价 [7][11] - 示例项目的中标机制电价均为0.3963元/千瓦时,执行期限均为12年 [7][11] - 示例项目的机制电量规模从15,012千瓦时到64,551千瓦时不等,承诺投产时间集中在2025年6月 [7][11] - 示例项目的竞价申报主体包括重庆合敏太阳能、重庆市合川区沛润新能源、重庆碳容新能源、重庆盈蛟光伏科技、重庆豪涛光伏科技等公司 [7][11]
【公用事业】26年电煤长协引入“基准价+浮动价”形式,10月全社会用电量同比高增——行业周报(251123)(殷中枢/宋黎超)
光大证券研究· 2025-11-24 23:03
本周行情回顾 - SW公用事业一级行业本周下跌4.33%,在31个SW一级行业中排名第10,同期沪深300下跌3.77%,上证综指下跌3.9%,深证成指下跌5.13%,创业板指下跌6.15% [4] - 细分子板块中,火电下跌4.68%,水电下跌1.44%,光伏发电下跌10.88%,风力发电下跌4.29%,电能综合服务下跌7.28%,燃气下跌5.7% [4] - 本周公用事业涨幅前五个股为大众公用(+8.10%)、德龙汇能(+3.56%)、世茂能源(+3.09%)、恒盛能源(+1.02%)、川能动力(+0.24%),跌幅前五为百川能源(-20.63%)、闽东电力(-19.89%)、首华燃气(-19.15%)、长春燃气(-18.49%)、国新能源(-18.36%) [4] 本周数据更新 - 国内动力煤价格周环比平稳,秦皇岛港5500大卡动力煤价格突破830元/吨,进口煤价格周环比上行显著,防城港5500大卡印尼动力煤周环比上涨10元/吨,广州港5500大卡澳洲动力煤周环比上涨25元/吨 [5] - 广东、山西现货结算电价周环比均有所下降,蒙东、蒙西、宁夏、四川、江西和广东系统运行费新增"136号文"新能源机制电价差价结算费 [5] - 本月广东代理购电价格同比下降13%,四川同比下降5%,江西同比下降2%,反映"136号文"电价对广东新增绿电机组影响较大,整体绿电价格承压 [5] 本周重点事件 - 国家发展改革委发布《做好2026年电煤保供中长期合同签订和履约监管工作的通知》,新增建立价格月度调整机制,可采用"基准价+浮动价"形式,基准价为当地价格合理区间中值,浮动价由四家机构产地动力煤价格指数综合确定 [6] - 通知要求发电企业签约量原则上不低于需求量的80%,新增各省主管部门和中央企业每半年开展1次履约情况自评估的要求 [6][7] - 国家能源局发布10月全社会用电量8572亿千瓦时,同比增长10.4%,第一产业用电量同比增长13.2%,第二产业增长6.2%,第三产业增长17.1%,城乡居民生活用电量增长23.9% [7]
“风光大省”甘肃,为何竞配出了全国最低的机制电价?
搜狐财经· 2025-11-13 02:31
六省新能源机制电价竞价结果 - 自“136号文”发布后,山东、云南、新疆、甘肃、江西及广东六省已完成增量项目首轮机制电价竞价,竞价结果预示了各省新能源项目未来10-12年的电价境况 [1] - 具体竞价结果为:广东0.36元/千瓦时;江西风电0.337元/千瓦时、光伏0.33元/千瓦时;云南光伏0.33元/千瓦时、风电0.332元/千瓦时;新疆风电0.252元/千瓦时、光伏0.235元/千瓦时;山东风电0.319元/千瓦时、光伏0.225元/千瓦时;甘肃0.1954元/千瓦时 [1] - 甘肃机制电价0.1954元/千瓦时为全国最低,其竞价上下限区间为0.1954-0.2447元/千瓦时,最终成交价压着下限,此情况为其他省份所未有 [1][2] 甘肃新能源市场现状与困境 - 甘肃新能源面临中长协电价与现货电价双双下行的压力,2025年新能源中长协签约价格为0.24元/千瓦时,较2024年的0.28元/千瓦时进一步下降,且已低于该省0.3元/千瓦时的燃煤基准电价 [3] - 甘肃现货市场价格持续承压,2024年光伏现货平均结算价已跌穿0.17元/千瓦时,2025年部分月份甚至跌破0.12元/千瓦时,1-2月连续两月现货均价跌破0.1元/千瓦时 [3] - 甘肃机制电价电量规模极为有限,第一批次机制电量规模为8.3亿千瓦时,第二批次为15.2亿千瓦时,两批合计仅23.5亿千瓦时,与庞大的装机发电量形成鲜明对比 [4] 甘肃新能源装机与消纳矛盾 - 截至2024年底,甘肃风电装机容量3214.76万千瓦,光伏装机容量约4308.47万千瓦,合计7523.23万千瓦;2024年风电发电量457.9亿千瓦时,光伏发电量约800亿千瓦时,合计1257.9亿千瓦时 [5] - 甘肃新能源装机增长过快,从2020年底的2369万千瓦激增至2025年9月底的7523.73万千瓦,规划到2025年底突破8000万千瓦,2030年底风光装机达1.6亿千瓦 [6] - 甘肃本地消纳能力严重不足,电力外送依赖特高压,但即便规划中的6条特高压全部投产,总输电能力也仅4800万千瓦,远低于2030年1.6亿千瓦的规划装机量,且东部受端省份接收意愿也存在不确定性 [6][7] 其他省份的类似挑战 - 山东作为“光伏第一大省”,其光伏增量项目机制电价为0.225元/千瓦时,虽高于甘肃但仍属超低价,且大幅低于该省0.39元/千瓦时的燃煤基准电价;山东光伏现货均价从2022年的0.197元/千瓦时跌至2025年1-6月的0.06元/千瓦时 [8] - 山东新能源利用率低,2024年其装机占比近五成,但发电量占比仅为13%,反映出严重的弃风弃光问题 [8] - 新疆新能源总装机达1.35亿千瓦,占电力总装机比重超58%,但发电量占比仅为25%,同样存在消纳难题,表明消纳难是行业通病 [9]
新能源入市的山东解法
经济观察报· 2025-09-20 07:19
山东省新能源装机规模 - 截至2025年7月底全省风光新能源总装机达1.19亿千瓦 其中光伏装机9130万千瓦 风电装机2749万千瓦 光伏装机规模居全国首位 [1][4] 电力市场改革进展 - 山东是全国首个出台136号文实施细则的省份 率先开展新能源上网电价市场化改革 [1][4] - 2025年6月1日为新能源项目"新老划断"时间节点 之后投产的增量项目需通过市场竞争形成机制电价 [2] 首次机制电价竞价结果 - 2025年9月11日公示竞价结果 机制电量总规模94.67亿千瓦时 [2] - 风电入选电量59.67亿千瓦时 中标价格0.319元/千瓦时 [2] - 光伏入选电量12.48亿千瓦时 中标价格0.225元/千瓦时 [2] - 光伏中标价较低主因首次竞价分配机制电量规模较少引发恐慌性报价 [3] 分布式光伏开发模式 - 形成"户用为主 整村开发 集中汇流 全额上网"的山东模式 [7] - 截至2025年6月底分布式光伏装机近6000万千瓦 占光伏总装机量三分之二 [7] - 户用光伏年收益超3000元/户 初装费超2万元/户 [7] - 2017-2024年连续8年分布式光伏装机全国第一 2019年起成为光伏发展主力军 [8] 新能源消纳挑战与对策 - 2024年全省用电量8320亿千瓦时 第二产业用电6071亿千瓦时占比73% [13] - 光伏间歇性发电与24小时工业用电需求不匹配 晚间需外购高价电力 [12][13] - 2024年6月提出分布式光伏余电上网部分按集中式光伏现货市场加权均价结算 [13] - 存量项目机制电价定为0.3949元/千瓦时 与2024年风光结算均价0.35元/千瓦时衔接 [14] 风电与储能发展重点 - 目标2025年底光伏与风电装机比例从3.2:1优化至2.6:1 [16] - 规划海域100米高度年平均风速7.5米/秒 威海部分海域达7.9米/秒以上 [17] - 2025年建成新型储能300万千瓦 放开现货市场限价拉大充放电价差 [19] - 2025年海上风电项目总装机达375.2万千瓦 含6个大型项目及11个装备制造项目 [17] 绿电直连与工商业光伏 - 2024年工商业光伏新增装机716万千瓦 超越户用光伏的206万千瓦 [19] - 截至2025年6月工商业光伏总装机超3000万千瓦 [19] - 东营时代零碳产业园实现100%绿电直连 年产值260亿元 [19] - 模式难点在于寻找能满足电量消费与持续经营要求的优质客户 [20] 行业转型建议 - 建议光伏开发商转向风电开发 或加大储能装配实现错峰发电 [20] - 鼓励开拓海外市场寻求增量空间 [20]